Page 034 –
Engine Block, Pistons, Rings, Rod Bearings, Cam Bearings, Main Bearings — Gasoline
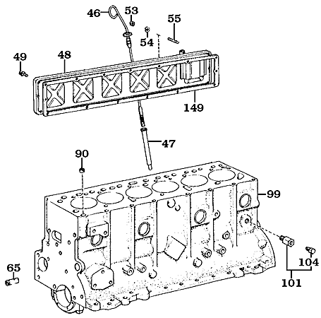
FJ40, FJ45, FJ55, FJ60/62, FJ80 and UZJ100 Engine Block, Pistons, Rings, Main Bearings, Rod Bearings and Cam Bearings
Click the NUMBERS in the blue squares for part listings
Click on the BLUE HIGHLIGHTED NUMBERS in the line drawings to display a COMPLETE part listing of that part number.
Engine Block
Fuel Pump
Block-Off Plate
Block-Off Plate
Pistons, Rings and Bearings shown of Tabs 2-4
Pistons
Rings
Main Bearings
Rod Bearings
Related product quick links:
Click the NUMBERS in the blue squares for part listings
Click on the BLUE HIGHLIGHTED NUMBERS in the line drawings to display a COMPLETE part listing of that part number.
Pistons
1958-9/72 Flat
9/72-1986 Domed
Ring Set
Thrust Washer Set
Rod Bearing
Set
Set
Main Bearing Pin
1958-9/73
Main Bearing Set
Cam Bearing Set
Rings
Related product quick links:
Main Bearing Shim Kit
| Buy | Quantity | Part Number | Description | Price | In Stock | Click for Zoom |
|---|---|---|---|---|---|---|
| Add to Cart | 034-09 |
Main Bearing Shim Set Fits 58-9/73 F gas engine - Kit includes a complete set of both .004 inch (.1mm) and .007 inch (.18mm) shim thicknesses. These are a must if you are changing your main bearings - Do the job right! Refer to the factory engine repair manual for specifications. On Sale - Everyone gets the Discounted Price on this part. |
$64.95 |
|
||
|
Main Bearing Shim Set Fits 58-9/73 F gas engine - Kit includes a complete set of both .004 inch (.1mm) and .007 inch (.18mm) shim thicknesses. These are a must if you are changing your main bearings - Do the job right! Refer to the factory engine repair manual for specifications. On Sale - Everyone gets the Discounted Price on this part. |
||||||
Back to Top
Pistons
(click for large picture) |
| Buy | Quantity | Part Number | Description | Price | In Stock | Click for Zoom |
|---|---|---|---|---|---|---|
| Add to Cart | 034-01A |
F engine flat top standard size piston Fits 1958-1/72 - Size: STD - Sold each On Sale - Everyone gets the Discounted Price on this part. |
$135.00 |
|
||
|
F engine flat top standard size piston Fits 1958-1/72 - Size: STD - Sold each On Sale - Everyone gets the Discounted Price on this part. |
||||||
| Add to Cart | 034-01A-00-SET |
Set of 6 PISTONS SIZE STANDARD Fits 1958-1/72 STD Size Flat top On Sale - Everyone gets the Discounted Price on this part. |
$580.00 |
|
||
|
Set of 6 PISTONS SIZE STANDARD Fits 1958-1/72 STD Size Flat top On Sale - Everyone gets the Discounted Price on this part. |
||||||
| Add to Cart | 034-01A-20 |
F engine flat top .020 oversize piston Fits 1958-1/72 - Size: .020 - Sold each On Sale - Everyone gets the Discounted Price on this part. |
$135.00 |
|
||
|
F engine flat top .020 oversize piston Fits 1958-1/72 - Size: .020 - Sold each On Sale - Everyone gets the Discounted Price on this part. |
||||||
| Add to Cart | 034-01A-20-SET |
Set of 6 PISTONS SIZE 20 Fits 1958-1/72 Size 020 Flat top On Sale - Everyone gets the Discounted Price on this part. |
$580.00 |
|
||
|
Set of 6 PISTONS SIZE 20 Fits 1958-1/72 Size 020 Flat top On Sale - Everyone gets the Discounted Price on this part. |
||||||
| Add to Cart | 034-01A-30 |
F engine flat top .030 oversize piston Fits 1958-1/72 - Size: .030 - Sold each (Discontinued - Not available at this time) |
$0.00 |
|
||
|
F engine flat top .030 oversize piston Fits 1958-1/72 - Size: .030 - Sold each (Discontinued - Not available at this time) |
||||||
| Add to Cart | 034-01A-40 |
F engine flat top .040 oversize piston Fits 1958-1/72 - Size: .040 - Sold each On Sale - Everyone gets the Discounted Price on this part. |
$125.00 |
|
||
|
F engine flat top .040 oversize piston Fits 1958-1/72 - Size: .040 - Sold each On Sale - Everyone gets the Discounted Price on this part. |
||||||
| Add to Cart | 034-01A-40-SET |
Set of 6 PISTONS SIZE 40 Fits 1958-1/72 40 Size Flat top On Sale - Everyone gets the Discounted Price on this part. |
$595.00 |
|
||
|
Set of 6 PISTONS SIZE 40 Fits 1958-1/72 40 Size Flat top On Sale - Everyone gets the Discounted Price on this part. |
||||||
| Add to Cart | 034-01B |
F engine flat top standard size piston Fits 1/72-9/72 - Size: STD - Sold each On Sale - Everyone gets the Discounted Price on this part. |
$102.06 |
|
||
|
F engine flat top standard size piston Fits 1/72-9/72 - Size: STD - Sold each On Sale - Everyone gets the Discounted Price on this part. |
||||||
| Add to Cart | 034-01B-10 |
F engine flat top .010 oversize piston Fits 1/72-9/72 - Size: .010 - Sold each On Sale - Everyone gets the Discounted Price on this part. |
$142.27 |
|
||
|
F engine flat top .010 oversize piston Fits 1/72-9/72 - Size: .010 - Sold each On Sale - Everyone gets the Discounted Price on this part. |
||||||
| Add to Cart | 034-01B-20 |
F engine flat top .020 oversize piston Fits 1/72-9/72 - Size: .020 - Sold each On Sale - Everyone gets the Discounted Price on this part. |
$125.00 |
|
||
|
F engine flat top .020 oversize piston Fits 1/72-9/72 - Size: .020 - Sold each On Sale - Everyone gets the Discounted Price on this part. |
||||||
| Add to Cart | 034-01B-30 |
F engine flat top .030 oversize piston Fits 1/72-9/72 - Size: .030 - Sold each (Discontinued - Not available at this time) |
$0.00 |
|
||
|
F engine flat top .030 oversize piston Fits 1/72-9/72 - Size: .030 - Sold each (Discontinued - Not available at this time) |
||||||
| Add to Cart | 034-01B-40 |
F engine flat .040 oversize piston Fits 1/72-9/72 - Size: .040 - Sold each (Discontinued - Not available at this time) |
$0.00 |
|
||
|
F engine flat .040 oversize piston Fits 1/72-9/72 - Size: .040 - Sold each (Discontinued - Not available at this time) |
||||||
| Add to Cart | 034-01BG20-SET |
(6)PISTONS (20) Fits 8/87-6/90 SIZE 20(SET) On Sale - Everyone gets the Discounted Price on this part. |
$510.00 |
|
||
|
(6)PISTONS (20) Fits 8/87-6/90 SIZE 20(SET) On Sale - Everyone gets the Discounted Price on this part. |
||||||
| Add to Cart | 034-01C |
F engine domed standard size piston Fits 9/72-1974 - Size: STD - Sold each On Sale - Everyone gets the Discounted Price on this part. |
$96.00 |
|
||
|
F engine domed standard size piston Fits 9/72-1974 - Size: STD - Sold each On Sale - Everyone gets the Discounted Price on this part. |
||||||
| Add to Cart | 034-01C-00-SET |
Set of 6 PISTONS STD SIZE Fits 9/72-1/75 Size STD Dome top On Sale - Everyone gets the Discounted Price on this part. |
$550.00 |
|
||
|
Set of 6 PISTONS STD SIZE Fits 9/72-1/75 Size STD Dome top On Sale - Everyone gets the Discounted Price on this part. |
||||||
| Add to Cart | 034-01C-20 |
F engine domed .020 oversize piston Fits 9/72-1974 - Size: .020 - Sold each On Sale - Everyone gets the Discounted Price on this part. |
$99.00 |
|
||
|
F engine domed .020 oversize piston Fits 9/72-1974 - Size: .020 - Sold each On Sale - Everyone gets the Discounted Price on this part. |
||||||
| Add to Cart | 034-01C-20-SET |
Set of 6 PISTONS .020 OVERSIZE Fits 9/72-1/75 Size 20 Dome top (Discontinued - Not available at this time) |
$0.00 |
|
||
|
Set of 6 PISTONS .020 OVERSIZE Fits 9/72-1/75 Size 20 Dome top (Discontinued - Not available at this time) |
||||||
| Add to Cart | 034-01C-40 |
F engine domed .040 oversize piston Fits 9/72-1974 - Size: .040 - Sold each (Discontinued - Not available at this time) |
$0.00 |
|
||
|
F engine domed .040 oversize piston Fits 9/72-1974 - Size: .040 - Sold each (Discontinued - Not available at this time) |
||||||
| Add to Cart | 034-01C-40-SET |
Set of 6 PISTONS .040 OVERSIZE Fits 9/72-1/75 Size 40 Dome top On Sale - Everyone gets the Discounted Price on this part. |
$550.00 |
|
||
|
Set of 6 PISTONS .040 OVERSIZE Fits 9/72-1/75 Size 40 Dome top On Sale - Everyone gets the Discounted Price on this part. |
||||||
| Add to Cart | 034-01D |
2F engine domed standard piston Fits 1/75-8/80 - Size: STD - Sold each (Discontinued - Not available at this time) |
$0.00 |
|
||
|
2F engine domed standard piston Fits 1/75-8/80 - Size: STD - Sold each (Discontinued - Not available at this time) |
||||||
| Add to Cart | 034-01D-00-SET |
Set of 6 PISTONS SIZE STANDARD Fits 1/75-8/80 Size STD Dome top On Sale - Everyone gets the Discounted Price on this part. |
$450.00 |
|
||
|
Set of 6 PISTONS SIZE STANDARD Fits 1/75-8/80 Size STD Dome top On Sale - Everyone gets the Discounted Price on this part. |
||||||
| Add to Cart | 034-01D-20 |
2F engine domed .020 oversize piston Fits 1/75-8/80 - Size: .020 - Sold each On Sale - Everyone gets the Discounted Price on this part. Special Order - NO Return |
$99.00 |
|
||
|
2F engine domed .020 oversize piston Fits 1/75-8/80 - Size: .020 - Sold each On Sale - Everyone gets the Discounted Price on this part. Special Order - NO Return |
||||||
| Add to Cart | 034-01D-20-SET |
Set of 6 PISTONS SIZE 20 Fits 1/75-8/80 Size 020 Dome top... Sold in a set of 6. On Sale - Everyone gets the Discounted Price on this part. |
$410.00 |
|
||
|
Set of 6 PISTONS SIZE 20 Fits 1/75-8/80 Size 020 Dome top... Sold in a set of 6. On Sale - Everyone gets the Discounted Price on this part. |
||||||
| Add to Cart | 034-01D-40 |
2F engine domed .040 oversize piston Fits 1/75-8/80 - Size: .040 - Sold each (Discontinued - Not available at this time) |
$0.00 |
|
||
|
2F engine domed .040 oversize piston Fits 1/75-8/80 - Size: .040 - Sold each (Discontinued - Not available at this time) |
||||||
| Add to Cart | 034-01D-40-SET |
Set of 6 PISTONS SIZE 40 Fits 1/75-8/80 Size 040 Dome top. Sold in a set of 6. On Sale - Everyone gets the Discounted Price on this part. |
$410.00 |
|
||
|
Set of 6 PISTONS SIZE 40 Fits 1/75-8/80 Size 040 Dome top. Sold in a set of 6. On Sale - Everyone gets the Discounted Price on this part. |
||||||
| Add to Cart | 034-01F |
2F engine flat top standard size piston Fits 8/80-8/87 - Size: STD - Sold each On Sale - Everyone gets the Discounted Price on this part. |
$99.00 |
|
||
|
2F engine flat top standard size piston Fits 8/80-8/87 - Size: STD - Sold each On Sale - Everyone gets the Discounted Price on this part. |
||||||
| Add to Cart | 034-01F-20 |
2F engine flat top .020 oversize piston Fits 8/80-8/87 - Size: .020 - Sold each On Sale - Everyone gets the Discounted Price on this part. |
$188.43 |
|
||
|
2F engine flat top .020 oversize piston Fits 8/80-8/87 - Size: .020 - Sold each On Sale - Everyone gets the Discounted Price on this part. |
||||||
| Add to Cart | 034-01F-20-OEM |
OEM 2F engine flat top .020 oversize piston Fits 8/80-8/87 - Size .020 - Sold each On Sale - Everyone gets the Discounted Price on this part. |
$188.43 |
|
||
|
OEM 2F engine flat top .020 oversize piston Fits 8/80-8/87 - Size .020 - Sold each On Sale - Everyone gets the Discounted Price on this part. |
||||||
| Add to Cart | 034-01F-20-SET |
Set of 6 PISTONS SIZE 20 Fits 8/80-8/87 Size 020 Flat top. Sold in a set of 6. On Sale - Everyone gets the Discounted Price on this part. |
$410.00 |
|
||
|
Set of 6 PISTONS SIZE 20 Fits 8/80-8/87 Size 020 Flat top. Sold in a set of 6. On Sale - Everyone gets the Discounted Price on this part. |
||||||
| Add to Cart | 034-01F-30 |
2F engine flat top .030 oversize piston Fits 8/80-8/87 - Size: .030 - Sold each (Discontinued - Not available at this time) |
$0.00 |
|
||
|
2F engine flat top .030 oversize piston Fits 8/80-8/87 - Size: .030 - Sold each (Discontinued - Not available at this time) |
||||||
| Add to Cart | 034-01F-40 |
2F engine flat top .040 oversize piston Fits 8/80-8/87 - Size: .040 - Sold each On Sale - Everyone gets the Discounted Price on this part. |
$89.00 |
|
||
|
2F engine flat top .040 oversize piston Fits 8/80-8/87 - Size: .040 - Sold each On Sale - Everyone gets the Discounted Price on this part. |
||||||
| Add to Cart | 034-01F-40-OEM |
OEM 2F engine flat top .040 oversize piston Fits 8/80-8/87 - Size: .040 - Sold each Special Order - NO Return |
$156.76 |
|
||
|
OEM 2F engine flat top .040 oversize piston Fits 8/80-8/87 - Size: .040 - Sold each Special Order - NO Return |
||||||
| Add to Cart | 034-01F-40-SET |
Set of 6 PISTONS SIZE 40 Fits 8/80-8/87 Size 040 Flat top. Sold in a set of 6. On Sale - Everyone gets the Discounted Price on this part. |
$500.00 |
|
||
|
Set of 6 PISTONS SIZE 40 Fits 8/80-8/87 Size 040 Flat top. Sold in a set of 6. On Sale - Everyone gets the Discounted Price on this part. |
||||||
| Add to Cart | 034-01F2H20SET |
SET OF 6 PISTONS SIZE 20 Fits 8/80-11/84 2H DIESEL - Size .020. Sold in a set of 6. On Sale - Everyone gets the Discounted Price on this part. |
$340.00 |
|
||
|
SET OF 6 PISTONS SIZE 20 Fits 8/80-11/84 2H DIESEL - Size .020. Sold in a set of 6. On Sale - Everyone gets the Discounted Price on this part. |
||||||
| Add to Cart | 034-01FD-20 |
2H diesel .020 oversize piston Fits 8/80-1/90 - Size: .020 - Sold each (Discontinued - Not available at this time) |
$0.00 |
|
||
|
2H diesel .020 oversize piston Fits 8/80-1/90 - Size: .020 - Sold each (Discontinued - Not available at this time) |
||||||
| Add to Cart | 034-01FE-20 |
12HT diesel .020 oversize piston Fits 10/85-1/90 - Size: .020 - Sold each On Sale - Everyone gets the Discounted Price on this part. Special Order - NO Return |
$567.53 |
|
||
|
12HT diesel .020 oversize piston Fits 10/85-1/90 - Size: .020 - Sold each On Sale - Everyone gets the Discounted Price on this part. Special Order - NO Return |
||||||
| Add to Cart | 034-01FGSTDSET |
SET OF 6 PISTONS SIZE STANDARD Fits 11/84-8/87 3F CARB GAS MOTOR NON-USA - Size STANDARD On Sale - Everyone gets the Discounted Price on this part. |
$620.00 |
|
||
|
SET OF 6 PISTONS SIZE STANDARD Fits 11/84-8/87 3F CARB GAS MOTOR NON-USA - Size STANDARD On Sale - Everyone gets the Discounted Price on this part. |
||||||
| Add to Cart | 034-01G-A-1 |
3F engine standard Mark 1 piston Fits 1/88-6/90 - Size: STD Mark 1 - Sold each (Discontinued - Not available at this time) |
$0.00 |
|
||
|
3F engine standard Mark 1 piston Fits 1/88-6/90 - Size: STD Mark 1 - Sold each (Discontinued - Not available at this time) |
||||||
| Add to Cart | 034-01G-A-2 |
3F engine standard Mark 2 piston Fits 8/87-6/90 - Size: STD Mark 2 - Sold each On Sale - Everyone gets the Discounted Price on this part. Special Order - NO Return |
$197.66 |
|
||
|
3F engine standard Mark 2 piston Fits 8/87-6/90 - Size: STD Mark 2 - Sold each On Sale - Everyone gets the Discounted Price on this part. Special Order - NO Return |
||||||
| Add to Cart | 034-01G-A-3 |
3F engine standard Mark 3 piston Fits 1/88-6/90 - Size: STD Mark 3 - Sold each (Discontinued - Not available at this time) |
$0.00 |
|
||
|
3F engine standard Mark 3 piston Fits 1/88-6/90 - Size: STD Mark 3 - Sold each (Discontinued - Not available at this time) |
||||||
| Add to Cart | 034-01G-B-00 |
Set of 6 PISTONS SIZE STANDARD Fits 8/87-6/90 Size STD 3F ENGINE On Sale - Everyone gets the Discounted Price on this part. Special Order - NO Return |
$599.00 |
|
||
|
Set of 6 PISTONS SIZE STANDARD Fits 8/87-6/90 Size STD 3F ENGINE On Sale - Everyone gets the Discounted Price on this part. Special Order - NO Return |
||||||
| Add to Cart | 034-01G-B-20 |
3F engine .020 oversize piston Fits 8/87-6/90 - Size: .020 - Sold each. On Sale - Everyone gets the Discounted Price on this part. |
$147.80 |
|
||
|
3F engine .020 oversize piston Fits 8/87-6/90 - Size: .020 - Sold each. On Sale - Everyone gets the Discounted Price on this part. |
||||||
| Add to Cart | 034-01G-B-20SE |
Set of 6 PISTONS SIZE (020) Fits 8/87-6/90 Size 20 3F ENGINE On Sale - Everyone gets the Discounted Price on this part. |
$510.00 |
|
||
|
Set of 6 PISTONS SIZE (020) Fits 8/87-6/90 Size 20 3F ENGINE On Sale - Everyone gets the Discounted Price on this part. |
||||||
| Add to Cart | 034-01G-B-40 |
3F engine .040 oversize piston Fits 8/87-6/90 - Size: .040 - Sold each On Sale - Everyone gets the Discounted Price on this part. Special Order - NO Return |
$138.08 |
|
||
|
3F engine .040 oversize piston Fits 8/87-6/90 - Size: .040 - Sold each On Sale - Everyone gets the Discounted Price on this part. Special Order - NO Return |
||||||
| Add to Cart | 034-01G-B-60 |
3F engine .060 oversize piston Fits 8/87-6/90 - Size: .060 - Sold each Special Order - NO Return |
$175.71 |
|
||
|
3F engine .060 oversize piston Fits 8/87-6/90 - Size: .060 - Sold each Special Order - NO Return |
||||||
| Add to Cart | 034-01H-A-1 |
3F engine standard Mark 1 piston Fits 6/90-8/92 - Size: STD Mark 1 - Sold each Special Order - NO Return |
$146.25 |
|
||
|
3F engine standard Mark 1 piston Fits 6/90-8/92 - Size: STD Mark 1 - Sold each Special Order - NO Return |
||||||
| Add to Cart | 034-01H-A-2 |
3F engine standard Mark 2 piston Fits 6/90-8/92 - Size: STD Mark 2 - Sold each On Sale - Everyone gets the Discounted Price on this part. Special Order - NO Return |
$160.29 |
|
||
|
3F engine standard Mark 2 piston Fits 6/90-8/92 - Size: STD Mark 2 - Sold each On Sale - Everyone gets the Discounted Price on this part. Special Order - NO Return |
||||||
| Add to Cart | 034-01H-A-3 |
3F engine standard Mark 3 piston Fits 6/90-8/92 - Size: STD Mark 3 - Sold each Special Order - NO Return |
$129.67 |
|
||
|
3F engine standard Mark 3 piston Fits 6/90-8/92 - Size: STD Mark 3 - Sold each Special Order - NO Return |
||||||
| Add to Cart | 034-01H-B-20 |
3F engine .020 oversize piston Fits 6/90-8/92 - Size: .020 - Sold each (Discontinued - Not available at this time) |
$0.00 |
|
||
|
3F engine .020 oversize piston Fits 6/90-8/92 - Size: .020 - Sold each (Discontinued - Not available at this time) |
||||||
| Add to Cart | 034-01H-B-40 |
3F engine .040 oversize piston Fits 6/90-8/92 - Size: .040 - Sold each Special Order - NO Return |
$162.14 |
|
||
|
3F engine .040 oversize piston Fits 6/90-8/92 - Size: .040 - Sold each Special Order - NO Return |
||||||
| Add to Cart | 034-01H-B-60 |
3F engine .060 oversize piston Fits 6/90-8/92 - Size: .060 - Sold each (Discontinued - Not available at this time) |
$0.00 |
|
||
|
3F engine .060 oversize piston Fits 6/90-8/92 - Size: .060 - Sold each (Discontinued - Not available at this time) |
||||||
| Add to Cart | 034-01I-A-1 |
1FZ engine standard Mark 1 piston Fits 8/92-1/98 - Size: STD Mark 1 - Sold each On Sale - Everyone gets the Discounted Price on this part. Special Order - NO Return |
$203.75 |
|
||
|
1FZ engine standard Mark 1 piston Fits 8/92-1/98 - Size: STD Mark 1 - Sold each On Sale - Everyone gets the Discounted Price on this part. Special Order - NO Return |
||||||
| Add to Cart | 034-01I-A-2 |
1FZ engine standard Mark 2 piston Fits 8/92-1/98 - Size: STD Mark 2 - Sold each Special Order - NO Return |
$203.75 |
|
||
|
1FZ engine standard Mark 2 piston Fits 8/92-1/98 - Size: STD Mark 2 - Sold each Special Order - NO Return |
||||||
| Add to Cart | 034-01I-A-3 |
1FZ engine standard Mark 3 piston Fits 8/98-1/92 - Size: STD Mark 3 - Sold each Special Order - NO Return |
$188.43 |
|
||
|
1FZ engine standard Mark 3 piston Fits 8/98-1/92 - Size: STD Mark 3 - Sold each Special Order - NO Return |
||||||
| Add to Cart | 034-01I-B-20 |
1FZ engine .020 oversize piston Fits 8/92-1/98 - Size: .020 - Sold each Special Order - NO Return |
$214.47 |
|
||
|
1FZ engine .020 oversize piston Fits 8/92-1/98 - Size: .020 - Sold each Special Order - NO Return |
||||||
| Add to Cart | 034-01I-B-40 |
1FZ engine .040 oversize piston Fits 8/92-1/98 - Size: .040 - Sold each Special Order - NO Return |
$203.75 |
|
||
|
1FZ engine .040 oversize piston Fits 8/92-1/98 - Size: .040 - Sold each Special Order - NO Return |
||||||
| Add to Cart | 034-01ID-H-20 |
1HZ diesel .020 Oversize piston Fits 1/90-1/98 - Size .020 - Sold each On Sale - Everyone gets the Discounted Price on this part. Special Order - NO Return |
$221.65 |
|
||
|
1HZ diesel .020 Oversize piston Fits 1/90-1/98 - Size .020 - Sold each On Sale - Everyone gets the Discounted Price on this part. Special Order - NO Return |
||||||
| Add to Cart | 034-01J-L-1 |
2UZ engine left hand Mark 1 piston Fits 1/98-2007 - Size: Mark 1 - Sold each Special Order - NO Return |
$146.09 |
|
||
|
2UZ engine left hand Mark 1 piston Fits 1/98-2007 - Size: Mark 1 - Sold each Special Order - NO Return |
||||||
| Add to Cart | 034-01J-L-2 |
2UZ engine left hand Mark 2 piston Fits 1/98-2007 - Size: Mark 2 - Sold each Special Order - NO Return |
$169.45 |
|
||
|
2UZ engine left hand Mark 2 piston Fits 1/98-2007 - Size: Mark 2 - Sold each Special Order - NO Return |
||||||
| Add to Cart | 034-01J-L-3 |
2UZ engine left hand Mark 3 piston Fits 1/98-2007 - Size: Mark 3 - Sold each Special Order - NO Return |
$169.45 |
|
||
|
2UZ engine left hand Mark 3 piston Fits 1/98-2007 - Size: Mark 3 - Sold each Special Order - NO Return |
||||||
| Add to Cart | 034-01J-R-1 |
2UZ engine right hand Mark 1 piston Fits 1/98-2007 - Size: Mark 1 - Sold each Special Order - NO Return |
$146.09 |
|
||
|
2UZ engine right hand Mark 1 piston Fits 1/98-2007 - Size: Mark 1 - Sold each Special Order - NO Return |
||||||
| Add to Cart | 034-01J-R-2 |
2UZ engine right hand Mark 2 piston Fits 1/98-2007 - Size: Mark 2 - Sold each Special Order - NO Return |
$169.45 |
|
||
|
2UZ engine right hand Mark 2 piston Fits 1/98-2007 - Size: Mark 2 - Sold each Special Order - NO Return |
||||||
| Add to Cart | 034-01J-R-3 |
2UZ engine right hand Mark 3 piston Fits 1/98-2007 - Size: Mark 3 - Sold each Special Order - NO Return |
$133.12 |
|
||
|
2UZ engine right hand Mark 3 piston Fits 1/98-2007 - Size: Mark 3 - Sold each Special Order - NO Return |
||||||
| Add to Cart | 034-01K-L-20 |
2UZ engine left hand .020 oversize piston Fits 1/98-2007 - Size: .020 - Sold each Special Order - NO Return |
$223.75 |
|
||
|
2UZ engine left hand .020 oversize piston Fits 1/98-2007 - Size: .020 - Sold each Special Order - NO Return |
||||||
| Add to Cart | 034-01K-R-20 |
2UZ engine right hand .020 oversize piston Fits 1/98-2007 - Size: .020 - Sold each Special Order - NO Return |
$159.40 |
|
||
|
2UZ engine right hand .020 oversize piston Fits 1/98-2007 - Size: .020 - Sold each Special Order - NO Return |
||||||
| Add to Cart | 034-01M-S |
B DIESEL PISTON Fits 8/80-8/84 B DIESEL STD On Sale - Everyone gets the Discounted Price on this part. |
$102.50 |
|
||
|
B DIESEL PISTON Fits 8/80-8/84 B DIESEL STD On Sale - Everyone gets the Discounted Price on this part. |
||||||
| Add to Cart | 034-01R-D |
12HT diesel standard piston Fits 10/85-1/90 - Size: STD - Sold each On Sale - Everyone gets the Discounted Price on this part. |
$214.16 |
|
||
|
12HT diesel standard piston Fits 10/85-1/90 - Size: STD - Sold each On Sale - Everyone gets the Discounted Price on this part. |
||||||
| Add to Cart | 034-01T-D-U |
USED 13BT diesel standard piston Fits 8/88-1/90 - Size: STD - Sold each On Sale - Everyone gets the Discounted Price on this part. IT APPEARS WE ARE OUT OF STOCK ON THIS ITEM. PLEASE CALL TO CHECK AVAILABILITY (818) 882-1238. |
$211.00 |
|
||
|
USED 13BT diesel standard piston Fits 8/88-1/90 - Size: STD - Sold each On Sale - Everyone gets the Discounted Price on this part. Special Order - NO Return |
||||||
Back to Top
(click for large picture) |
Rings
| Buy | Quantity | Part Number | Description | Price | In Stock |
|---|---|---|---|---|---|
| Add to Cart | 034-03-FJ25-S |
Standard size ring set Fits FJ25 - Size: STD On Sale - Everyone gets the Discounted Price on this part. |
$150.00 | ||
|
Standard size ring set Fits FJ25 - Size: STD On Sale - Everyone gets the Discounted Price on this part. |
|||||
| Add to Cart | 034-03A |
Standard size ring set Fits 1958-1/72 F gas engine - Size: STD On Sale - Everyone gets the Discounted Price on this part. |
$150.00 | ||
|
Standard size ring set Fits 1958-1/72 F gas engine - Size: STD On Sale - Everyone gets the Discounted Price on this part. |
|||||
| Add to Cart | 034-03A-20 |
.020 oversize ring set Fits 1958-1/72 F gas engine - Size: .020 On Sale - Everyone gets the Discounted Price on this part. |
$150.00 | ||
|
.020 oversize ring set Fits 1958-1/72 F gas engine - Size: .020 On Sale - Everyone gets the Discounted Price on this part. |
|||||
| Add to Cart | 034-03A-30 |
.030 oversize ring set Fits 1958-1/72 F gas engine - Size: .030 |
$150.00 | ||
|
.030 oversize ring set Fits 1958-1/72 F gas engine - Size: .030 |
|||||
| Add to Cart | 034-03A-40 |
.040 oversize ring set Fits 1958-1/72 F gas engine - Size: .040 On Sale - Everyone gets the Discounted Price on this part. |
$170.00 | ||
|
.040 oversize ring set Fits 1958-1/72 F gas engine - Size: .040 On Sale - Everyone gets the Discounted Price on this part. |
|||||
| Add to Cart | 034-03A-60 |
.060 oversize ring set Fits 1958-1/72 F gas engine - Size: .060 (Discontinued - Not available at this time) |
$0.00 | ||
|
.060 oversize ring set Fits 1958-1/72 F gas engine - Size: .060 (Discontinued - Not available at this time) |
|||||
| Add to Cart | 034-03B |
Standard size ring set Fits 1/72-12/74 F gas engine - Size: STD On Sale - Everyone gets the Discounted Price on this part. |
$140.00 | ||
|
Standard size ring set Fits 1/72-12/74 F gas engine - Size: STD On Sale - Everyone gets the Discounted Price on this part. |
|||||
| Add to Cart | 034-03B-10 |
.010 oversize ring set Fits 1/72-12/74 F gas engine - Size: .010 (Discontinued - Not available at this time) |
$0.00 | ||
|
.010 oversize ring set Fits 1/72-12/74 F gas engine - Size: .010 (Discontinued - Not available at this time) |
|||||
| Add to Cart | 034-03B-20 |
.020 oversize ring set Fits 1/72-12/74 F gas engine - Size: .020 On Sale - Everyone gets the Discounted Price on this part. |
$115.00 | ||
|
.020 oversize ring set Fits 1/72-12/74 F gas engine - Size: .020 On Sale - Everyone gets the Discounted Price on this part. |
|||||
| Add to Cart | 034-03B-30 |
.030 oversize ring set Fits 1/72-12/74 F gas engine - Size: .030 On Sale - Everyone gets the Discounted Price on this part. |
$135.00 | ||
|
.030 oversize ring set Fits 1/72-12/74 F gas engine - Size: .030 On Sale - Everyone gets the Discounted Price on this part. |
|||||
| Add to Cart | 034-03B-30-OEM |
OEM .030 oversize ring set Fits 1/72-12/74 F gas engine - Size: .030 |
$216.49 | ||
|
OEM .030 oversize ring set Fits 1/72-12/74 F gas engine - Size: .030 |
|||||
| Add to Cart | 034-03B-40 |
.040 oversize ring set Fits 1/72-12/74 F gas engine - Size: .040 On Sale - Everyone gets the Discounted Price on this part. |
$145.00 | ||
|
.040 oversize ring set Fits 1/72-12/74 F gas engine - Size: .040 On Sale - Everyone gets the Discounted Price on this part. |
|||||
| Add to Cart | 034-03B-40-OEM |
OEM .040 oversize ring set Fits 1/72-12/74 F gas engine - Size: .040 (Discontinued - Not available at this time) |
$0.00 | ||
|
OEM .040 oversize ring set Fits 1/72-12/74 F gas engine - Size: .040 (Discontinued - Not available at this time) |
|||||
| Add to Cart | 034-03B-60-OEM |
OEM .060 oversize ring set Fits 1/72-12/74 F gas engine - Size: .060 On Sale - Everyone gets the Discounted Price on this part. |
$211.02 | ||
|
OEM .060 oversize ring set Fits 1/72-12/74 F gas engine - Size: .060 On Sale - Everyone gets the Discounted Price on this part. |
|||||
| Add to Cart | 034-03C |
Standard size ring set Fits 1/75-8/87 2F gas engine - Size: STD On Sale - Everyone gets the Discounted Price on this part. |
$165.00 | ||
|
Standard size ring set Fits 1/75-8/87 2F gas engine - Size: STD On Sale - Everyone gets the Discounted Price on this part. |
|||||
| Add to Cart | 034-03C-10 |
.010 oversize ring set Fits 1/75-8/87 2F gas engine - Size: .010 (Discontinued - Not available at this time) |
$0.00 | ||
|
.010 oversize ring set Fits 1/75-8/87 2F gas engine - Size: .010 (Discontinued - Not available at this time) |
|||||
| Add to Cart | 034-03C-20 |
.020 oversize ring set Fits 1/75-8/87 2F gas engine - Size: .020 On Sale - Everyone gets the Discounted Price on this part. |
$125.00 | ||
|
.020 oversize ring set Fits 1/75-8/87 2F gas engine - Size: .020 On Sale - Everyone gets the Discounted Price on this part. |
|||||
| Add to Cart | 034-03C-30 |
.030 oversize ring set Fits 1/75-8/87 2F gas engine - Size: .030 On Sale - Everyone gets the Discounted Price on this part. |
$165.00 | ||
|
.030 oversize ring set Fits 1/75-8/87 2F gas engine - Size: .030 On Sale - Everyone gets the Discounted Price on this part. |
|||||
| Add to Cart | 034-03C-40 |
.040 oversize ring set Fits 1/75-8/87 2F gas engine - Size: .040 On Sale - Everyone gets the Discounted Price on this part. |
$155.00 | ||
|
.040 oversize ring set Fits 1/75-8/87 2F gas engine - Size: .040 On Sale - Everyone gets the Discounted Price on this part. |
|||||
| Add to Cart | 034-03C-60 |
.060 oversize ring set Fits 1/75-8/87 2F gas engine - Size: .060 (Discontinued - Not available at this time) |
$0.00 | ||
|
.060 oversize ring set Fits 1/75-8/87 2F gas engine - Size: .060 (Discontinued - Not available at this time) |
|||||
| Add to Cart | 034-03C-C |
Standard size ring set Fits 10/86-8/87 Non-USA 2F gas engine - Size: STD On Sale - Everyone gets the Discounted Price on this part. |
$222.93 | ||
|
Standard size ring set Fits 10/86-8/87 Non-USA 2F gas engine - Size: STD On Sale - Everyone gets the Discounted Price on this part. |
|||||
| Add to Cart | 034-03D |
Standard size ring set Fits 8/87-8/92 3F fuel injected gas engine - Size: STD On Sale - Everyone gets the Discounted Price on this part. Special Order - NO Return |
$220.00 | ||
|
Standard size ring set Fits 8/87-8/92 3F fuel injected gas engine - Size: STD On Sale - Everyone gets the Discounted Price on this part. Special Order - NO Return |
|||||
| Add to Cart | 034-03D-20 |
.020 oversize ring set Fits 8/87-8/92 3F fuel injected gas engine - Size: .020 On Sale - Everyone gets the Discounted Price on this part. |
$155.00 | ||
|
.020 oversize ring set Fits 8/87-8/92 3F fuel injected gas engine - Size: .020 On Sale - Everyone gets the Discounted Price on this part. |
|||||
| Add to Cart | 034-03D-40 |
.040 oversize ring set Fits 8/87-8/92 3F fuel injected gas engine - Size: .040 |
$175.00 | ||
|
.040 oversize ring set Fits 8/87-8/92 3F fuel injected gas engine - Size: .040 |
|||||
| Add to Cart | 034-03D-C |
Standard size ring set Fits 8/87-8/92 3F carbureted gas engine - Size: STD (Discontinued - Not available at this time) |
$0.00 | ||
|
Standard size ring set Fits 8/87-8/92 3F carbureted gas engine - Size: STD (Discontinued - Not available at this time) |
|||||
| Add to Cart | 034-03E |
Standard size ring set Fits 8/92-1/98 1FZ fuel injected gas engine - Size: STD On Sale - Everyone gets the Discounted Price on this part. |
$154.64 | ||
|
Standard size ring set Fits 8/92-1/98 1FZ fuel injected gas engine - Size: STD On Sale - Everyone gets the Discounted Price on this part. |
|||||
| Add to Cart | 034-03E-20 |
.020 oversize ring set Fits 8/92-1/98 1FZ fuel injected gas engine - Size: .020 On Sale - Everyone gets the Discounted Price on this part. |
$259.00 | ||
|
.020 oversize ring set Fits 8/92-1/98 1FZ fuel injected gas engine - Size: .020 On Sale - Everyone gets the Discounted Price on this part. |
|||||
| Add to Cart | 034-03E-40 |
.040 oversize ring set Fits 8/92-1/98 1FZ fuel injected gas engine - Size: .040 On Sale - Everyone gets the Discounted Price on this part. Special Order - NO Return |
$687.45 | ||
|
.040 oversize ring set Fits 8/92-1/98 1FZ fuel injected gas engine - Size: .040 On Sale - Everyone gets the Discounted Price on this part. Special Order - NO Return |
|||||
| Add to Cart | 034-03F |
Standard size ring set Fits 1/98-2007 2UZ gas engine - Size: STD On Sale - Everyone gets the Discounted Price on this part. Special Order - NO Return |
$282.66 | ||
|
Standard size ring set Fits 1/98-2007 2UZ gas engine - Size: STD On Sale - Everyone gets the Discounted Price on this part. Special Order - NO Return |
|||||
| Add to Cart | 034-03F-20 |
.020 oversize ring set Fits 1/98-2007 2UZ gas engine - Size: .020 Special Order - NO Return |
$823.84 | ||
|
.020 oversize ring set Fits 1/98-2007 2UZ gas engine - Size: .020 Special Order - NO Return |
|||||
| Add to Cart | 034-03K |
Piston Rings Fits 10/75-8/84 B diesel - General Spec - Size: STD (Discontinued - Not available at this time) |
$0.00 | ||
|
Piston Rings Fits 10/75-8/84 B diesel - General Spec - Size: STD (Discontinued - Not available at this time) |
|||||
| Add to Cart | 034-03KC |
Piston Rings Fits 3/78-7/80 B diesel - Canadian Spec - Size: STD On Sale - Everyone gets the Discounted Price on this part. |
$253.17 | ||
|
Piston Rings Fits 3/78-7/80 B diesel - Canadian Spec - Size: STD On Sale - Everyone gets the Discounted Price on this part. |
|||||
| Add to Cart | 034-03KJ |
Piston Rings Fits 2/79-9/82 2B diesel - Japan Spec - Size: STD On Sale - Everyone gets the Discounted Price on this part. Special Order - NO Return |
$253.17 | ||
|
Piston Rings Fits 2/79-9/82 2B diesel - Japan Spec - Size: STD On Sale - Everyone gets the Discounted Price on this part. Special Order - NO Return |
|||||
| Add to Cart | 034-03L |
Standard size ring set Fits 8/80-8/88 3B diesel engine - Size: STD On Sale - Everyone gets the Discounted Price on this part. Special Order - NO Return |
$257.73 | ||
|
Standard size ring set Fits 8/80-8/88 3B diesel engine - Size: STD On Sale - Everyone gets the Discounted Price on this part. Special Order - NO Return |
|||||
| Add to Cart | 034-03LM |
Standard size ring set Fits 4/72-7/80 H diesel engine - Size: STD (Discontinued - Not available at this time) |
$0.00 | ||
|
Standard size ring set Fits 4/72-7/80 H diesel engine - Size: STD (Discontinued - Not available at this time) |
|||||
| Add to Cart | 034-03M |
Standard size ring set Fits 8/80-1/90 2H diesel engine - Size: STD On Sale - Everyone gets the Discounted Price on this part. |
$309.97 | ||
|
Standard size ring set Fits 8/80-1/90 2H diesel engine - Size: STD On Sale - Everyone gets the Discounted Price on this part. |
|||||
| Add to Cart | 034-03M-20 |
.020 oversize ring set Fits 8/80-1/90 2H diesel engine - Size: .020 On Sale - Everyone gets the Discounted Price on this part. |
$220.00 | ||
|
.020 oversize ring set Fits 8/80-1/90 2H diesel engine - Size: .020 On Sale - Everyone gets the Discounted Price on this part. |
|||||
| Add to Cart | 034-03N |
Standard size ring set Fits 10/85-1/90 12HT diesel engine - Size: STD On Sale - Everyone gets the Discounted Price on this part. |
$309.97 | ||
|
Standard size ring set Fits 10/85-1/90 12HT diesel engine - Size: STD On Sale - Everyone gets the Discounted Price on this part. |
|||||
| Add to Cart | 034-03N-20 |
.020 oversize ring set Fits 10/85-1/90 12HT diesel engine - Size: .020 On Sale - Everyone gets the Discounted Price on this part. |
$220.00 | ||
|
.020 oversize ring set Fits 10/85-1/90 12HT diesel engine - Size: .020 On Sale - Everyone gets the Discounted Price on this part. |
|||||
| Add to Cart | 034-03O |
Standard size ring set Fits 1/90-1/98 1HDT/HZ diesel engines - Size: STD On Sale - Everyone gets the Discounted Price on this part. Special Order - NO Return |
$555.49 | ||
|
Standard size ring set Fits 1/90-1/98 1HDT/HZ diesel engines - Size: STD On Sale - Everyone gets the Discounted Price on this part. Special Order - NO Return |
|||||
| Add to Cart | 034-03O-20 |
.020 oversize ring set Fits 1/90-1/98 1HDT/HZ diesel engines - Size: .020 On Sale - Everyone gets the Discounted Price on this part. Special Order - NO Return |
$753.91 | ||
|
.020 oversize ring set Fits 1/90-1/98 1HDT/HZ diesel engines - Size: .020 On Sale - Everyone gets the Discounted Price on this part. Special Order - NO Return |
|||||
Back to Top
Engine Assembly Lube Kits
Engine assembly lube kits contain all the lubricants necessary to assemble either a diesel or gasoline engine.| Buy | Quantity | Part Number | Description | Price | In Stock | Click for Zoom |
|---|---|---|---|---|---|---|
| Add to Cart | 200-25 |
DIESEL Engine Assembly Lube Kit Comes with motor assembly grease, head bolt grease, cam and lifter lube, o-ring & oil seal rubber grease, plastigage for oil clearance measurement and cylinder bore wipes - GROUND SHIPPING ONLY! On Sale - Everyone gets the Discounted Price on this part. |
$22.00 |
|
||
|
DIESEL Engine Assembly Lube Kit Comes with motor assembly grease, head bolt grease, cam and lifter lube, o-ring & oil seal rubber grease, plastigage for oil clearance measurement and cylinder bore wipes - GROUND SHIPPING ONLY! On Sale - Everyone gets the Discounted Price on this part. |
||||||
Back to Top
Click the NUMBERS in the blue squares for part listings
Click on the BLUE HIGHLIGHTED NUMBERS in the line drawings to display a COMPLETE part listing of that part number.
Connecting Rod
Pistons
Ring Set
Thrust Washer Set
Main Bearing Set
Rod Bearing Set
Cam Bearing Set
Related product quick links:















Main Bearing Thrust Washers