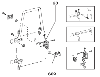
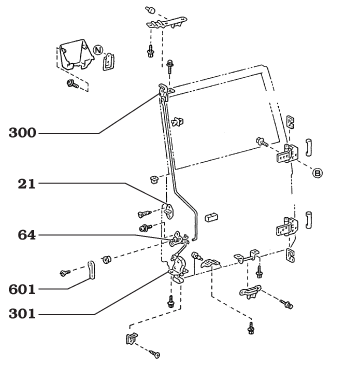
Page 139B –
FJ70 Rear Doors - 70 Series Ambulance Doors
70 Series Rear Doors
Click the NUMBERS in the blue squares for part listings
Click on the BLUE HIGHLIGHTED NUMBERS in the line drawings to display a COMPLETE part listing of that part number.
1 Piece Doors (non-removable top)

2 Piece Doors (removable top)
Clips Hinges & Latches





