Page 040 –
F, 2F, 3F 1FZ and 2UZ-FE Motor Mounts - Gasoline
Gasoline Engine Motor Mounts
Click the NUMBERS in the blue squares for part listings
Click on the BLUE HIGHLIGHTED NUMBERS in the line drawings to display a COMPLETE part listing of that part number.
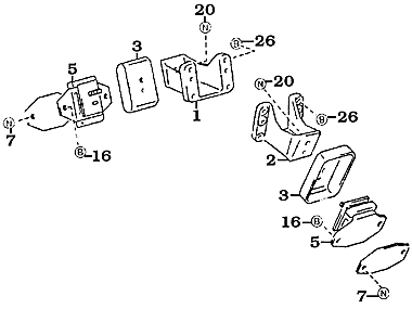
1958-1/75 Motor Mount Insulators, Hardware & Brackets

#040-05-Kit Update kit contains front and rear motor mount
insulators and hardware (click for large picture). Updates
1958-1/75 discontinued Toyota front mount.
1958-8/80 Front and Rear Motors, and Motor Mount Hardware
|
Red and green painted brackets shown for clarity only. These are not included with the kit. (click for large picture)
SOR offers three Motor Mount component kits. We offer a complete Motor Mount Kit with mounts and hardware (#040-05-KIT). We offer a separate kit with mounts only (#040-05A-KIT), and a kit with hardware only (#040-05AB-KIT). Since both long rear motor mount bolts have been discontinued by Toyota, SOR designed a kit using a rear long bolt and a Nyloc nut. Unlike the OEM long bolt/castle nut combo, Specter's combination can continue to be tightened as the mount compresses with age. Both mount kits feature the updated " clam shell" style front mounts that interlock when the rubber fails keeping the engine from changing position in the engine bay. The complete Mount Kit includes these updated front " clam shell" style mounts, plus the rear mounts and the Bolt Kit. The "Mount only" Kit includes the updated front mounts and the 4 rear mounts with no hardware. The Bolt Kit includes the front mount bolts and nuts, rear mount bolts and nuts, and the appropriate washers with no mounts. |
| Buy | Quantity | Part Number | Description | Price | In Stock | Click for Zoom |
|---|---|---|---|---|---|---|
| Add to Cart | 040-05-KIT |
MOTOR MOUNTS & HARDWARE KIT Fits 1958-7/80 FJ40/FJ55 - This kit includes qty 2 Front heavy duty updated style and 4 rear engine aftermarket motor mounts plus all the hardware to install. On Sale - Everyone gets the Discounted Price on this part. |
$174.00 |
|
||
|
MOTOR MOUNTS & HARDWARE KIT Fits 1958-7/80 FJ40/FJ55 - This kit includes qty 2 Front heavy duty updated style and 4 rear engine aftermarket motor mounts plus all the hardware to install. On Sale - Everyone gets the Discounted Price on this part. |
||||||
| Add to Cart | 040-05-KIT-OEM |
OEM MOTOR MOUNTS & HARDWARE KIT Fits 1958-7/80 FJ40/FJ55 - This kit includes qty 2 Front OEM heavy duty updated style and 4 rear OEM engine motor mounts plus all the hardware to install. On Sale - Everyone gets the Discounted Price on this part. |
$374.00 |
|
||
|
OEM MOTOR MOUNTS & HARDWARE KIT Fits 1958-7/80 FJ40/FJ55 - This kit includes qty 2 Front OEM heavy duty updated style and 4 rear OEM engine motor mounts plus all the hardware to install. On Sale - Everyone gets the Discounted Price on this part. |
||||||
| Add to Cart | 040-05A-KIT |
MOTOR MOUNT KIT Fits 1958-6/76 FJ40/45 - Kit includes qty 2 front updated heavy duty motor mounts & qty 4 rear motor mounts - Does NOT include hardware! On Sale - Everyone gets the Discounted Price on this part. |
$150.93 |
|
||
|
MOTOR MOUNT KIT Fits 1958-6/76 FJ40/45 - Kit includes qty 2 front updated heavy duty motor mounts & qty 4 rear motor mounts - Does NOT include hardware! On Sale - Everyone gets the Discounted Price on this part. |
||||||
| Add to Cart | 040-05AB-KIT |
Motor Mount Hardware Kit 1958-7/80 Kit contains nuts, bolts and washers for all 4 motor mounts On Sale - Everyone gets the Discounted Price on this part. |
$27.00 |
|
||
|
Motor Mount Hardware Kit 1958-7/80 Kit contains nuts, bolts and washers for all 4 motor mounts On Sale - Everyone gets the Discounted Price on this part. |
||||||
Back to Top
Click the NUMBERS in the blue squares for part listings
Click on the BLUE HIGHLIGHTED NUMBERS in the line drawings to display a COMPLETE part listing of that part number.
1/75-8/80 Motor Mount Insulators, Hardware & Brackets
1958-8/80 Front and Rear Motors, and Motor Mount Hardware
|
Red and green painted brackets shown for clarity only. These are not included with the kit. (click for large picture)
SOR offers three Motor Mount component kits. We offer a complete Motor Mount Kit with mounts and hardware (#040-05-KIT). We offer a separate kit with mounts only (#040-05A-KIT), and a kit with hardware only (#040-05AB-KIT). Since both long rear motor mount bolts have been discontinued by Toyota, SOR designed a kit with a rear long bolt using a Nyloc nut. Unlike the OEM long bolt/castle nut combo, Specter's combination can continue to be tightened as the mount compresses with age. Both mount kits feature the updated " clam shell" style front mounts that interlock when the rubber fails keeping the engine from changing position in the engine bay. The complete Mount Kit includes these updated front " clam shell" style mounts, plus the rear mounts and the Bolt Kit. The "Mount only" Kit includes the updated front mounts and the 4 rear mounts with no hardware. The "Bolt only" Kit includes the front mount bolts and nuts, rear mount bolts and nuts, and the appropriate washers with no mounts. |
| Buy | Quantity | Part Number | Description | Price | In Stock | Click for Zoom |
|---|---|---|---|---|---|---|
| Add to Cart | 040-05-KIT |
MOTOR MOUNTS & HARDWARE KIT Fits 1958-7/80 FJ40/FJ55 - This kit includes qty 2 Front heavy duty updated style and 4 rear engine aftermarket motor mounts plus all the hardware to install. On Sale - Everyone gets the Discounted Price on this part. |
$174.00 |
|
||
|
MOTOR MOUNTS & HARDWARE KIT Fits 1958-7/80 FJ40/FJ55 - This kit includes qty 2 Front heavy duty updated style and 4 rear engine aftermarket motor mounts plus all the hardware to install. On Sale - Everyone gets the Discounted Price on this part. |
||||||
| Add to Cart | 040-05-KIT-OEM |
OEM MOTOR MOUNTS & HARDWARE KIT Fits 1958-7/80 FJ40/FJ55 - This kit includes qty 2 Front OEM heavy duty updated style and 4 rear OEM engine motor mounts plus all the hardware to install. On Sale - Everyone gets the Discounted Price on this part. |
$374.00 |
|
||
|
OEM MOTOR MOUNTS & HARDWARE KIT Fits 1958-7/80 FJ40/FJ55 - This kit includes qty 2 Front OEM heavy duty updated style and 4 rear OEM engine motor mounts plus all the hardware to install. On Sale - Everyone gets the Discounted Price on this part. |
||||||
| Add to Cart | 040-05A-KIT |
MOTOR MOUNT KIT Fits 1958-6/76 FJ40/45 - Kit includes qty 2 front updated heavy duty motor mounts & qty 4 rear motor mounts - Does NOT include hardware! On Sale - Everyone gets the Discounted Price on this part. |
$150.93 |
|
||
|
MOTOR MOUNT KIT Fits 1958-6/76 FJ40/45 - Kit includes qty 2 front updated heavy duty motor mounts & qty 4 rear motor mounts - Does NOT include hardware! On Sale - Everyone gets the Discounted Price on this part. |
||||||
| Add to Cart | 040-05AB-KIT |
Motor Mount Hardware Kit 1958-7/80 Kit contains nuts, bolts and washers for all 4 motor mounts On Sale - Everyone gets the Discounted Price on this part. |
$27.00 |
|
||
|
Motor Mount Hardware Kit 1958-7/80 Kit contains nuts, bolts and washers for all 4 motor mounts On Sale - Everyone gets the Discounted Price on this part. |
||||||
Back to Top






