Page 090B –

For best results, keep your searches simple. For example, try using "door" instead of
"FJ40 door handles".
You can also use page or part numbers from the printed catalog to navigate directly to catalog pages and part listings.


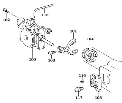
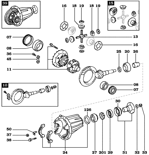
Specter recommends that you not attempt any work on the differential without the aid of the Factory Chassis & Body Repair Manual (see page 221). Check #13 Shaft, #18 Gears, #19 Washers for scoring. When reinstalling flange #31 use grease so you don't scar or rip the rubber lip of #29 pinion seal. If #29 Pinion seal is leaking there is a possibility the #31 Flange has a slight groove where the seal rides or that #26 Shims have spun and have become thinner. This also causes play in the #31 flange. If you were just to tighten the nut, improper bearing pre-load #20 to #27 will occur and cause bearing failure. Check #27 Bearing for scoring on race & rollers. Also check #26 shims for spinning. Replace parts as needed. Always replace #29 Pinion Seal on replacement of any parts. Torque spec on #33 nut is 160 ft/lbs.
Small Fill Plugs |
17mm |
Large Fill Plugs |
24mm |
#090-33A Castle Nut Fits 1958-8/69 |
26mm |
#090-33B Stake Nut Fits 8/69-1/78 |
27mm |
#090-33C Stake Nut Fits 1/78-4/85 |
30mm |
#090-33D Stake Nut Fits 4/85-1/98 |
30mm |
#090-33E-R Stake Nut (Rear) Fits 1/98-2007 |
30mm
|

Bearing & Gasket Kits


