Page 166B –
FJ55, FJ60 and FJ62 Land Cruiser Side and Rear View Mirrors
FJ55, FJ60 & FJ62 Rear View and Side Mirrors
On This Tab:
Rear View Mirror
60 Series Manual Side Mirrors
60 & 62 Series Aftermarket Aussie Mirrors
60 & 62 Series OEM Aussie Mirrors
62 Series Electric Mirrors
Click the NUMBERS in the blue squares for part listings
Click on the BLUE HIGHLIGHTED NUMBERS in the line drawings to display a COMPLETE part listing of that part number.
60 & 62 Series - Side Mirror
(click for large picture)
|
8/80-8/87 60 Series
Manual Side Mirror
|
8/87-1/90 62 Series
Electric Side Mirror
|
60 & 62 Series
Aussie Side Mirror
|
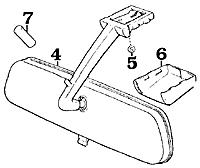
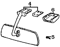
60 & 62 Series — Rear View Mirror

60 & 62 Series — Rear View Mirror and Mount Plate
| Buy | Quantity | Part Number | Description | Price | In Stock | Click for Zoom |
|---|---|---|---|---|---|---|
| Add to Cart | 166-04K |
OEM Rear view mirror Fits 8/80-1/90 FJ60/62 |
$126.88 |
|
||
|
OEM Rear view mirror Fits 8/80-1/90 FJ60/62 |
||||||
| Add to Cart | 166-09K-U |
USED Rear View Mirror Mounting Plate Fits 8/80-1/90 FJ60/FJ62 On Sale - Everyone gets the Discounted Price on this part. IT APPEARS WE ARE OUT OF STOCK ON THIS ITEM. PLEASE CALL TO CHECK AVAILABILITY (818) 882-1238. |
$27.00 |
|
||
|
USED Rear View Mirror Mounting Plate Fits 8/80-1/90 FJ60/FJ62 On Sale - Everyone gets the Discounted Price on this part. Special Order - NO Return |
||||||
Back to Top
OEM 60 Series Manual Side Mirrors
(click for large picture)
|
| Buy | Quantity | Part Number | Description | Price | In Stock | Click for Zoom |
|---|---|---|---|---|---|---|
| Add to Cart | 166-01K-L |
60 OEM Left Mirror Fits 8/80-8/87 FJ60 On Sale - Everyone gets the Discounted Price on this part. |
$78.16 |
|
||
|
60 OEM Left Mirror Fits 8/80-8/87 FJ60 On Sale - Everyone gets the Discounted Price on this part. |
||||||
| Add to Cart | 166-01K-R |
60 OEM Right Mirror Fits 8/80-8/87 FJ60 On Sale - Everyone gets the Discounted Price on this part. |
$78.16 |
|
||
|
60 OEM Right Mirror Fits 8/80-8/87 FJ60 On Sale - Everyone gets the Discounted Price on this part. |
||||||
| Add to Cart | 166-03K |
Side Mirror Screw Fits 8/80-8/87 FJ60 - 2 Required per mirror |
$0.75 |
|
||
|
Side Mirror Screw Fits 8/80-8/87 FJ60 - 2 Required per mirror |
||||||
Back to Top
60 & 62 Series Aftermarket Aussie Mirrors
| Buy | Quantity | Part Number | Description | Price | In Stock | Click for Zoom |
|---|---|---|---|---|---|---|
| Add to Cart | 166-01KAUS-PR |
Aftermarket Aussie Mirror (Sold as a Pair) Fits 8/80-1/90 FJ60/FJ62 - Features a break away style mirror arm with plastic mirror housing, and a larger convex mirror head. Bolts to factory holes, does not require drilling. Comes with mounting pad & hardware. Save $ when you buy in a pair! On Sale - Everyone gets the Discounted Price on this part. |
$149.00 |
|
||
|
Aftermarket Aussie Mirror (Sold as a Pair) Fits 8/80-1/90 FJ60/FJ62 - Features a break away style mirror arm with plastic mirror housing, and a larger convex mirror head. Bolts to factory holes, does not require drilling. Comes with mounting pad & hardware. Save $ when you buy in a pair! On Sale - Everyone gets the Discounted Price on this part. |
||||||
| Add to Cart | 166-01KAUS-A |
Aftermarket Aussie Mirror Fits 8/80-1/90 FJ60/FJ62 - Features a break away style mirror arm with plastic mirror housing, and a larger convex mirror head. Bolts to factory holes, does not require drilling. Comes with mounting pad & hardware. Sold Each. On Sale - Everyone gets the Discounted Price on this part. |
$79.00 |
|
||
|
Aftermarket Aussie Mirror Fits 8/80-1/90 FJ60/FJ62 - Features a break away style mirror arm with plastic mirror housing, and a larger convex mirror head. Bolts to factory holes, does not require drilling. Comes with mounting pad & hardware. Sold Each. On Sale - Everyone gets the Discounted Price on this part. |
||||||
| Add to Cart | 166-01KAUSAPAD |
Replacement Aussie Mirror Pad-Aftermarket Fits 166-01KAUS-A Aftermarket Aussie Mirror |
$8.49 |
|
||
|
Replacement Aussie Mirror Pad-Aftermarket Fits 166-01KAUS-A Aftermarket Aussie Mirror |
||||||
| Add to Cart | 166-03K |
Side Mirror Screw Fits 8/80-8/87 FJ60 - 2 Required per mirror |
$0.75 |
|
||
|
Side Mirror Screw Fits 8/80-8/87 FJ60 - 2 Required per mirror |
||||||
Back to Top
60 & 62 Series OEM Aussie Mirrors
| Buy | Quantity | Part Number | Description | Price | In Stock | Click for Zoom |
|---|---|---|---|---|---|---|
| Add to Cart | 166-01KAUS |
OEM 60 Series Aussie Mirror Fits 8/80-1/90 FJ60/FJ62 - Features a break away style mirror arm with metal mirror housing, and a larger convex mirror head. Bolts to factory holes, does not require drilling. Does not come with mounting pad or hardware, order separately if needed. Sold Each. On Sale - Everyone gets the Discounted Price on this part. |
$260.87 |
|
||
|
OEM 60 Series Aussie Mirror Fits 8/80-1/90 FJ60/FJ62 - Features a break away style mirror arm with metal mirror housing, and a larger convex mirror head. Bolts to factory holes, does not require drilling. Does not come with mounting pad or hardware, order separately if needed. Sold Each. On Sale - Everyone gets the Discounted Price on this part. |
||||||
| Add to Cart | 166-01KAUSP |
REPRODUCTION 60 Series Aussie Mirror Pad Fits 8/80-1/90 FJ60/62 On Sale - Everyone gets the Discounted Price on this part. |
$36.00 |
|
||
|
REPRODUCTION 60 Series Aussie Mirror Pad Fits 8/80-1/90 FJ60/62 On Sale - Everyone gets the Discounted Price on this part. |
||||||
| Add to Cart | 166-03K |
Side Mirror Screw Fits 8/80-8/87 FJ60 - 2 Required per mirror |
$0.75 |
|
||
|
Side Mirror Screw Fits 8/80-8/87 FJ60 - 2 Required per mirror |
||||||
Back to Top
60 & 62 Series Manual Side Mirrors
| Buy | Quantity | Part Number | Description | Price | In Stock | Click for Zoom |
|---|---|---|---|---|---|---|
| Add to Cart | 166-01R-L-NA |
60/62 Aftermarket Left Manual Mirror Fits 8/80-1/90 60 & 62 Series - Comes with pad On Sale - Everyone gets the Discounted Price on this part. |
$57.00 |
|
||
|
60/62 Aftermarket Left Manual Mirror Fits 8/80-1/90 60 & 62 Series - Comes with pad On Sale - Everyone gets the Discounted Price on this part. |
||||||
| Add to Cart | 166-01R-L-NPAD |
60/62 Aftermarket Replacement Mirror Pad Fits 8/80-1/90 FJ60/62 - Fits aftermarket mirror On Sale - Everyone gets the Discounted Price on this part. |
$15.81 |
|
||
|
60/62 Aftermarket Replacement Mirror Pad Fits 8/80-1/90 FJ60/62 - Fits aftermarket mirror On Sale - Everyone gets the Discounted Price on this part. |
||||||
| Add to Cart | 166-03L |
Side Mirror Screw Fits 8/87-1/90 FJ62 (2REQ) On Sale - Everyone gets the Discounted Price on this part. |
$2.61 |
|
||
|
Side Mirror Screw Fits 8/87-1/90 FJ62 (2REQ) On Sale - Everyone gets the Discounted Price on this part. |
||||||
Back to Top
62 Series Electric Mirrors
| Buy | Quantity | Part Number | Description | Price | In Stock | Click for Zoom |
|---|---|---|---|---|---|---|
| Add to Cart | 166-01R-L |
62 OEM Left Electric Mirror Fits 8/87-1/90 FJ62 - Comes with pad (Discontinued - Not available at this time) |
$0.00 |
|
||
|
62 OEM Left Electric Mirror Fits 8/87-1/90 FJ62 - Comes with pad (Discontinued - Not available at this time) |
||||||
| Add to Cart | 166-01R-R |
62 OEM Right Electric Remote Mirror Fits 8/87-1/90 FJ62 - Comes with pad (Discontinued - Not available at this time) |
$0.00 |
|
||
|
62 OEM Right Electric Remote Mirror Fits 8/87-1/90 FJ62 - Comes with pad (Discontinued - Not available at this time) |
||||||
| Add to Cart | 166-03L |
Side Mirror Screw Fits 8/87-1/90 FJ62 (2REQ) On Sale - Everyone gets the Discounted Price on this part. |
$2.61 |
|
||
|
Side Mirror Screw Fits 8/87-1/90 FJ62 (2REQ) On Sale - Everyone gets the Discounted Price on this part. |
||||||
Back to Top
Click the NUMBERS in the blue squares for part listings
Click on the BLUE HIGHLIGHTED NUMBERS in the line drawings to display a COMPLETE part listing of that part number.
55 Series - Rear View & Side Mirrors
Side Mirror
Rear View Mirror
FJ55 Reproduction Side Mirrors
| Buy | Quantity | Part Number | Description | Price | In Stock | Click for Zoom |
|---|---|---|---|---|---|---|
| Add to Cart | 166-01G-PAIR |
Pair Reproduction FJ55 Side Mirrors Fits 1968-7/80 FJ55 - sold as a pair with pads. On Sale - Everyone gets the Discounted Price on this part. |
$240.00 |
|
||
|
Pair Reproduction FJ55 Side Mirrors Fits 1968-7/80 FJ55 - sold as a pair with pads. On Sale - Everyone gets the Discounted Price on this part. |
||||||
Back to Top






